創業還是打造自己的品牌省心,“碰瓷”需要付出代價。。。。。。
一家位于河南鄭州賣油條的網紅店在全網火了。
這家網紅店從名字到圖標,再到店內裝修,都與今日頭條APP有相似之處。
根據天眼查APP顯示,字節跳動以商標權權屬、侵權糾紛為案由,將上述網紅店背后的運營公司告到了廣州知識產權法院。目前,該案件的裁決文書尚無法在中國裁判文書網搜索到。
10月15日,“今日油條”的員工告訴紅星新聞記者,作為員工,他個人認為“今日油條”的意思就是“賣的是今日的油條”,沒有其他意思。
網紅店鋪走紅
模仿今日頭條,還疑“碰瓷”格力王思聰西貝
從招牌到口號,再到菜單,網紅店今日油條和今日頭條APP有多處相似點。從裝修風格來看,這家店主要使用了紅白兩色,招牌上的字體和圖標都與今日頭條相似。

圖據網絡
其中,今日頭條APP的口號是“你關心的,才是頭條”;而今日油條的口號是“關心你的,才是好油條”。
根據大眾點評上網友曬出的菜單,今日油條的菜單和今日頭條APP的主頁布局也有相似之處。

左圖為今日頭條APP主頁,右圖來自大眾點評網友
意思是“賣的是今日的油條”
10月15日,紅星新聞記者聯系上“今日油條”的員工,對方稱,他們目前在河南鄭州有兩家店,用的都是這種風格的裝修。
“‘今日油條’,就是我賣的是‘今日的油條’,就是這個意思,我作為員工是這么理解的。”該員工認為,拆開來看,不管是“今日”還是“油條”,他個人認為沒有任何侵權。
“反正人家(指字節跳動)是大企業,我們只是一個小的早餐店,我們只是想做一個好的油條,給大家提供一份比較健康的早餐吧,沒有其他的心思。”該員工稱最近都是正常營業,生意還行。
當紅星新聞記者問及店內裝修風格多處與今日頭條APP相似的情況時,他表示,他們的裝修風格就是干干凈凈、整整齊齊、紅色和白色,“國家也沒有說紅色和白色被哪家企業注冊了不能使用。”
對于店內疑似王思聰的卡通頭像等,該員工稱“是不是完全跟他一樣?不太清楚。”
“我作為一個員工來說,賣個油條還能打上官司,我不知道中國這么多家賣油條的心里怎么想的?反正感覺疫情之后創個小業挺難的。”該員工向紅星新聞記者說。
對于和字節跳動的訴訟情況,該員工均表示不太清楚。
10月15日,紅星新聞記者致電該員工提供的其老板的座機電話,接電話的人表示他不是老板,對于記者提出的多個問題,他都稱“無可奉告”。

網紅店成立第二天就申請了商標
包括今日油條、餅多多、快手抓餅
根據天眼查顯示,今日頭條APP背后的字節跳動以商標權權屬、侵權糾紛為案由,將河南今日油條餐飲管理有限公司、鄭州市金水區今日油條早餐店、河南燒烤者食品有限公司三方告上了法庭。
案件審理流程為非訴行為保全審查。目前,該案件的裁決文書尚無法在中國裁判文書網搜索到。
天眼查APP顯示,河南今日油條餐飲管理有限公司成立于5月13日,而鄭州市金水區今日油條早餐店是成立于6月16日。
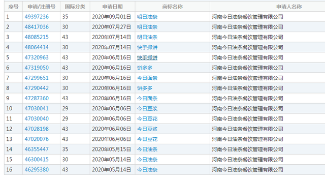
值得一提的是,紅星新聞記者在中國商標網查詢發現,前者在注冊后的第二天就開始申請商標,從5月至今共申請了16個商標,商標包括“今日油條”“餅多多”以及“快手抓餅”等。

截圖自中國商標網
對此,有網友質疑稱該公司申請的“今日油條”“餅多多”“快手抓餅”是在“碰瓷”字節跳動、拼多多和快手等互聯網企業。
目前,上述16個商標目前都處于“等待實質審查”階段。
首 頁 |免責聲明 |隱私保護 |聯系我們 ?粵ICP備17085206號??公安備案號:44200002442676
Copyrigh?2019 All Rights Reserved??本站采用DVU咪咚云技術開發制作??粵工商備P201804000805


