張家港市一家企業通過商標質押的方式,獲得綜合授信10億元,成為蘇州今年最大的一筆知識產權質押融資。

張家港廣大特材股份有限公司是一家高新技術企業,以高品質特種合金材料為核心業務,歸屬于國家重點扶持的戰略性新興產業項下的“先進鋼鐵材料”產業。
為開展新一輪融資,加大新產品研發并擴大產能,該公司在張家港市市場監管局、建設銀行張家港分行、江蘇國際知識產權運營交易中心幫助下,進行商標質押融資。
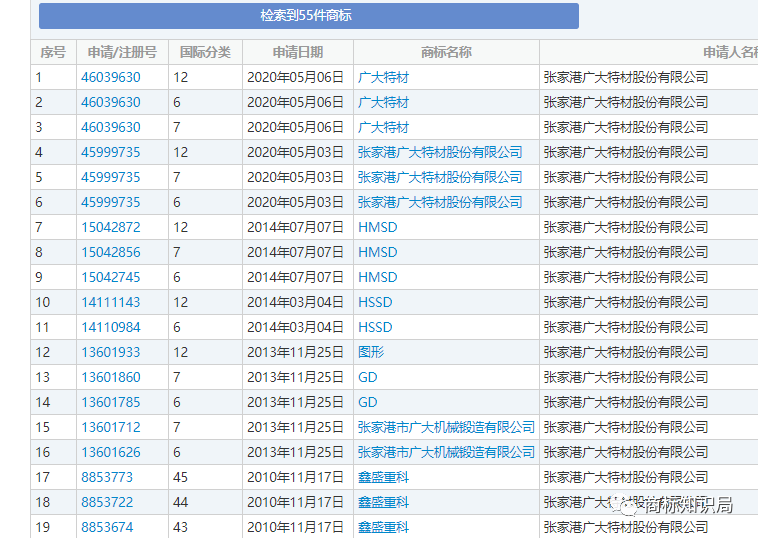
該公司此次用于質押融資的3個“GD”文字及圖形商標,在國內外均頗具品牌影響力,相關產品年銷售額約為13億元,因而獲得建設銀行蘇州分行10億元授信。


8月31日,國家知識產權局頒發《商標專用權質權登記證》,標志著此次商標質押融資成功。

作為知識產權運營公共服務平臺,江蘇國際知識產權運營交易中心在蘇州市行政審批局支持下,與市場監管、商務、稅務、外匯管理、科技等部門掛鉤,促進金融資源與知識產權有效融合,使“知本”變成“資本”。
9月4日,該中心與張家港市知識產權戰略實施聯席會簽約,在人才培養、城市形象宣傳、知識產權專業平臺建設等方面開展合作。
可見商標不僅能給企業帶來知名度和美譽度,還能換來真金白銀,解決企業的資金問題。可見,商標專用權質押業務對企業拓寬融資渠道、盤活無形資產有著重要的戰略和現實意義。
來源: 新華日報
首 頁 |免責聲明 |隱私保護 |聯系我們 ?粵ICP備17085206號??公安備案號:44200002442676
Copyrigh?2019 All Rights Reserved??本站采用DVU咪咚云技術開發制作??粵工商備P201804000805


